Math Labs with Activity – Total Surface Area of a Right-Circular Cylinder Formula
OBJECTIVE
To demonstrate a method to derive a formula for finding the total surface area of a right-circular cylinder
Materials Required
- A right-circular cylinder made of chart paper whose total surface area is to be determined
- A geometry box
- A pair of scissors
Theory
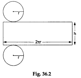
When a right-circular cylinder of height h and base radius r is unfolded, we get two circular sheets each of radius r (the top and bottom faces) and one rectangular sheet of length 2πr and breadth h (the curved surface).
Procedure
Step 1: Take a right-circular cylinder of height h and base radius r as shown in Figure 36.1.

Step 2: Remove its two circular faces on the top and bottom. Cut the curved surface vertically and open it to get a rectangular sheet (see Figure 36.2).

Step 3: Measure the length and breadth of the rectangle formed.
Observations and Calculations
We observe that the length of the rectangular sheet = 2πr and the breadth of the rectangular sheet = h.
the area of the rectangular sheet = 2πrh.
So, the curved surface area of the cylinder = 2πrh.
Also, the area of each circular sheet = πr².
the total area of the top and bottom surfaces of the cylinder = 2 x πr²=2πr².
Hence, the total surface area of the cylinder = 2πrh + 2πr²=2πr(h+r).
Result
The total surface area of the cylinder is given by S = 2πr(h+r).
Math Labs with ActivityMath LabsScience Practical SkillsScience Labs