Plus Two Physics Chapter Wise Previous Questions Chapter 1 Electric Charges and Fields is part of Kerala Plus Two Physics Chapter Wise Previous Questions and Answers Kerala. Here we have given Plus Two Physics Chapter Wise Questions and Answers Chapter 1 Electric Charges and Fields.
Kerala Plus Two Physics Chapter Wise Previous Questions Chapter 1 Electric Charges and Fields
Question 1.
Consider an infinitely long straight uniformly charged wire with linear charge density? (March – 2009)
a) To find the electric field at P (located at a distance ‘r’ from the line of charge), describe an appropriate Gaussian surface.
b) Define electric flux. Write a mathematical expression for the electric flux.
c) Find the total electric flux through the Gaussian surface for the above mentioned charged wire.
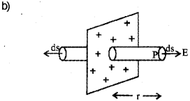
d) What is the net charge enclosed by the Gaussian surface?
e) Apply Gauss’s theorem to find the electric field at P for the above mentioned charged wire. Write the direction of the field.
Answer:
a) A cylinder of radius r having length C, with its axis as the line of charge is considered as a Gaussian surface.

b) The total number of electric lines of forces pass¬ing normally through the given area is called electric flux.

Question 2.
Draw the electric lines of force surrounding the charges if (Say – 2010)
a) a ‘+ q’ charge and a l q’ charge are separated at a distance ‘a’ apart in air.
b) Two ‘- q’ charges are placed at a distance ‘a’ apart in air.
Answer:

Question 3.
One can determine the direction of the electric field around a stationary charge with the help of electric field lines. (Say – 2010)
a) What do you understand by the term ‘electric flux’? Give its SI unit.
b) State Gauss’s theorem in electrostatics and express it in mathematical form.
c) Consider a spherical shell of radius ‘R’ is uniformly charged with charge ‘+q’. By using Gauss’s theorem, find the electric field intensity at a point ‘p’.
i) Outside this spherical shell
ii) Inside this spherical shell
Answer:
a) Total number of lines passing normally through an area is called electric flux.
Unit-1 – NC m2
b) Gauss’s theorem states that the total electric flux over a closed surface is 1/e0 times the total charge enclosed by the surface.
![]()
c) Refer March 2012, Q. No. I c
Question 4.
A body of mass m is charged negatively. State whether the following statements are true or false. (March – 2011)
a) During charging, there is change in mass of the body.
b) The body can be charged to 2.5e where e is the charge of an electron.
c) While charging the body by induction new charges are created in it.
d) The force between two charged objects is less when there is a medium between them.
Answer:
a) True
b) False
c) False
d) True
Question 5.
Two equal and opposite charge +q and -q are separated by a small distance ‘2a’. (Say – 2011)
a) Name this arrangement.
b) Define its moment. What is its direction?
c) If the above sytem is placed in a spherical shell, wh would be the net electric flux coming out of it?
d) The above system of two charges is placed in an external electric field E, at an angle q with it. Obtain a relation for the torque acting on it.
Answer:
a) Electnc dipole
b) The electric dipole moment is the product of the magnitude of any one charge and dipole length = P =q2a.
The direction of dipole moment is from negative charge to positive charge.
c) zero

Consider an electric dipole of dipole moment P = 2aq kept in a uniform external electric field, inclined at an angle O to the field direction.
torque = any one force x perpendicular distance t=qE x2asinø
Since P = 2aq
Question 6.
The idea of ‘Electric field lines’ is useful in pictorially mapping the electric field around charges. (March – 2012)
a) Give any Iwo properties of electric lines of force.
b) State Gauss’s theorem in electrostatics.
c) Using the theorem, derive an expression for electric field due to a uniformly charged spherical shell.
i) at a point outside the shell
ii) at a point inside the shell
d) A point charge of + μc is at a distance of 5 cm directly above the centre of a square of side 10 cm as shown in figure. What is the electric flux through the square?

Answer:
a) 1) An electric line of force originates from posi¬tive charge and ends on negative charge.
2) Electric field lines due to static charge never form closed f<xff)s.
3) In a uniform electric field, lines of force are parallel.
b) Gauss’s theorem states that the total electric flux over a closed surface is 1/e0 times the total charge enclosed by the surface.
![]()
c) Consider a uniformly charged hollow spherical conductor of radius R. Let ‘q’ be the total charge on the surface.

To find the electric field at P (at a distance r from the centre), we imagine a Gaussian spherical sur-face having radius T.
Then, according to Gauss’s theorem we can write,
![]()
The electric field is constant ,at a distance ‘r’ .So we can write,

Case -1: Electric field inside the shell is zero,
d) Electric flux through one side

Question 7.
Gausses law can be used to determine the electric field due to a charge distribution (March – 2013)
a) Below are some statements about Gauss’s law. Say whether they are true or false :
i) Gauss’s law is valid only for symmetrical charge distributions.
ii) The electrical field calculated by Gauss’s law is the field due to charges inside the Gaussian surface.
b) Apply Gauss’s law to find the electric field due to an infinitely long plane sheet of charge.
c) “There can be no net charge in a region in which the electric field is uniform at all points”. Do you agree with this statement? Justify your answer.
Answer
a) i) False
ii) False

Consider an infinite thin plane sheet of charge of density s.
To find electric field at a point P (at a distance ‘r’ from sheet), imagine a Gaussian surface in the form of cylinder having area of cross-section ‘ds’.
According to Gauss’s law we can write,

c) Yes, all points in between plates of a charged capacitor are at uniform electric field. But no charges are found in between the plates. (Charges are stored only on the plates.)
Question 8.
The electric flux due to an electric field \(\bar{E}\) through a surface \(\overrightarrow{\Delta S}\) is given by \(\overrightarrow{\mathrm{E}} \cdot \overrightarrow{\Delta \mathrm{S}}\). (Say – 2013)
a) The SI unit of electric flux is

b) Imagine that a charge ‘q’ is situated at the centre of a hollow cube. What is the electric flux through one side of the cube?
Answer:
a) Volt x metre
b) Total electric flux through the cube, \(\phi=\frac{\mathrm{q}}{\varepsilon_{0}}\)
So flux through one side = \(\frac{1}{6} \frac{q}{\varepsilon_{0}}\) [a cube has 6 sides]
Question 9.
a) All free charges are an integral multiple of a basic unit charge ‘e’. Then quantization rule of electric charge implies (March – 2014)
a) Q = e
b) Q = 1/e
c) Q = ne
d) Q = e2
b) Match the following quantities in Column A with their units in Column B :
| A | B |
| i) Force ii) Charge iii) Electric field iv) Dipole moment | a) Coulomb (C) b) N/C or V/M c) Coulomb meter (Cm) d) Newton (N) |
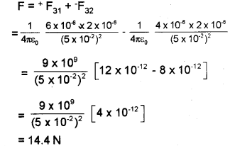
c) Electric field is an important way of characterising the electrical environment of a system of charges. Two-point charges q1 and q2 of magnitude +10’8 C and -10-8 C respectively are placed 0.1m apart. Calculate the electric fields at points A, B, and C has shown in the figure.

Answer:
a) Q = ne
b) i) Force – Newton (N)
ii) Charge – Coulomb (C)
iii) Electric field – N/C or V/M
iv) Dipolemoment – Coulomb meter (Cm)
c)

Electric field at A

Question 10.
Conductors are merials which allow the passage of electricity through them (Say – 2014)
a) When two conductors share their charges what happens to their total energy?

b) 3 charges Q1, Q2 and Q3 are arranged as in figure.
i) Find the force on the charge Q3.
ii) In which direction will this force act?
Answer:
a) When two conducting spheres share their charges, it’s total energy decreases. This is be cause some energy is lost in the form of heat.
b) i) Total force on Q3

ii) This force will act in the direction of Q2
Question 11.
According to Gauss law the electric flux through a dosed surfaœ is equal to q/∈0 where q and ∈0 have their usual meaning.
Why is it safe to be inside a bus than sheltered under a tree during lighting? (Say – 2014)
Answer:
Bus will act as a metal cavity. Hence electric field inside a bus is zero (Electrostatic sheilding). Due to this, it is safe to be inside a bus than sheltered under a tree during lighting.
Question 12.
Electric field lines are a pictorial representation of the electric field around charges. (March – 2015)
a) State Gausses Law in Electrostatics.
b) Using this law derive an expression for the electnc field intensity due to a uniformly charged thin spherical shell at a point.
i) Outside the shell
ii) Inside the shell
c) Suppose that you are in a cave deep within the earth. Are you safe from thunder and lightning? Why?
Answer:
a) Gauss’s theorem states that the total electric flux over a closed surface is 1/e0 times the total charge enclosed by the surface.
![]()
b) Consider a uniformly charged hollow spherical conductor of radius R. Let ‘q’ be the total charge on the surface.

To find the electric field at P (at a distance r from the centre), we imagine a Gaussian spherical surface having radius ‘r’.
Then, according to Gauss’s theorem we can write,
![]()
The electric field is constant ,at a distance ‘r’ .So we can write,

c) Yes. Earth can be considered as a large metal sphere. The cave can be considered as a cavity inside a metal sphere. Hence we are safe from thunder and lighting. (electrostatic shielding)
Question 13.
a) How much greater is one micro coulomb compared to an electronic charge? (March – 2016)
i) 1013 times
ii) 1010 times
iii) 1011 times
iv) 106 times
b) A point charge of 2μC is placed at the center of a cubic Gaussian surface of side 0.5 cm. What is the net flux through the surface?
(Given ∈0 = 8.85 x 10-12 C2/N/M2).
Answer:
a) i) 1013 times.

Question 14.
a) State Gauss’s law for magnetism. (March – 2016)
b) How this differs from Gauss’ law for electrostatics?
c) What is the difference in the two cases?
Answer:
a) The net magnetic flux through any closed surface is zero.
\(\int \overrightarrow{\mathrm{B}} \cdot \overrightarrow{\mathrm{ds}}=0\)
b) According to Gauss’ law in electrostatics, total flux over a dosed surface is 1/∈0 times net charge enclosed by the surface.
\(\oint \overrightarrow{\mathrm{E}} \cdot \overrightarrow{\mathrm{ds}}=\frac{\mathrm{q}}{\varepsilon_{0}}\)
c) Magnetic monopoles do not exist. But in electrostatics, positive and negative charges can exist separately.
Question 15.
Gauss’s theorem is useful in determining the electric field when the source distribution has symmetry. (Say – 2016)
a) The electric field intensity at a distance ‘r’ from a uniformly charged infinite plane sheet of charge is.
i) Proportional to r
ii) Proportional to 1/r
iii) Proportional to r
iv) Independent of r
b) A thin spherical shell of radius ‘R’ is uniformly charged to a surface charge, density s. Using Gauss’s theorem derive the expression for the electric field produced outside the shell.
Answer:
a) Independent off.
b) Refer March 2012, Q.No. Ic
Question 16.
a) How many electrons constitute an electric charge of-I 6mC? (March – 2017)
(i) 1013
(ii) 1014
(iii) 1015
(iv) 1012
b) An electric dipole is a pair of equal and opposite point charges +q and -q separated by a distance r. Write an expression for its dipole moment.
c) When an electric dipole is subjected to a uniform electric field, what will happen?
Answer:
a) ii) 1014
b) P = q x r
c) In unifocm electric field dipole undergoes rotation.
We hope the Kerala Plus Two Chemistry Chapter Wise Questions and Answers Chapter 1 Electric Charges and Fields help you. If you have any query regarding Kerala Plus Two Chemistry Chapter Wise Questions and Answers Chapter 1 Electric Charges and Fields, drop a comment below and we will get back to you at the earliest.