Math Labs with Activity – Verify the Identity (a² – b²) = (a+b)(a-b) (Method 1)
OBJECTIVE
To verify the identity (a² – b²) = (a+b)(a-b) (Method 1)
Materials Required
- A piece of cardboard
- A sheet of white paper
- A geometry box
- A tube of glue
- A coloured glazed paper
- A pair of scissors
Procedure
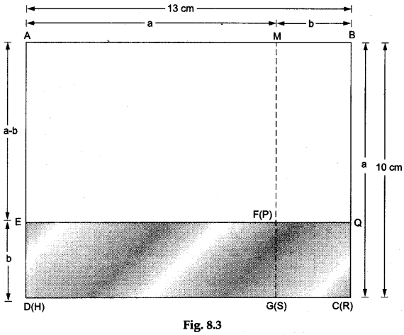
We shall verify the identity for a = 10, b = 3.
Step 1: Paste the white paper on the cardboard. Draw a rectangle ABCD of length AB = 13 cm and breadth BC = 10 cm on this paper as shown in Figure 8.1.

Step 2: Cut a rectangle EFGH of length EF = 10 cm and breadth FG = 3 cm from the coloured glazed paper as shown in Figure 8.2(a). Also, cut a square PQRS of side 3 cm as shown in Figure 8.2(b).

Step 3: Paste the rectangle EFGH over the rectangle ABCD such that the side EH falls on the side AD and the point H falls on the point D as shown in Figure 8.3.

Step 4: Paste the square PQRS over the rectangle ABCD such that the side QR falls on the side BC and the point R falls on the point C as shown in Figure 8.3.
Step 5: Produce the line GF to meet the side AB at a point M as shown in Figure 8.3.
Observations and Calculations
- Area of rectangle ABQE = (a+b)(a- b).
- Area of rectangle ABCD =(a+b)a.
Area of rectangle EFGH = ab.
Area of square PQRS = b².
area of rect. ABQE = (area of rect. ABCD) – (area of rect. EFGH) – (area of square PQRS) =(a+b)a-ab-b² = a² + ab-ab -b² = a²-b². - Equating the two values of the area of rectangle ABQE, we get
(a² – b²) = (a+b)(a-b).
Result
The identity (a² – b²) = (a+b)(a-b) is verified.
Math Labs with ActivityMath LabsMath Lab ManualScience LabsScience Practical Skills