ICSE Physics Previous Year Question Paper 2010 Solved for Class 10
ICSE Paper 2010
PHYSICS
(Two hours)
Answers to this Paper must he written on the paper provided separately.
You will not be allowed to write during the first 15 minutes.
This time is to he spent in reading the question paper.
The time given at the head of this Paper is the time allowed for writing the answers.
Section I is compulsory. Attempt any four questions from Section II.
The intended marks for questions or parts of questions are given in brackets [ ].
SECTION-I (40 Marks)
Attempt all questions from this Section.
Question 1:
(a) Name the device used for measuring :
(i) mass
(ii) weight. [2]
(b) A body weighs 360 N on the earth :
(i) What would be his approximate weight on the moon ?
(ii) What is the reason for your answer ? [2]
(c) A body is acted upon by a force. State two conditions under which the work done could be zero. [2]
(d) A spring is kept compressed by a small trolley of mass 0.5 kg lying on a smooth horizontal surface as shown in the figure given below :

When the trolley is released, it is found to move at a speed of 2 ms-1. [2]
(e) Name the subjective property :
(i) of sound related to its frequency.
(ii) of light related to its wavelength. [2]
Answer:
(a) (i) The mass is measured by using a balance scale, beam balance or laboratory balance. An analytical balance is used to measure mass to a very high degree of precision.
(ii) The weight is measured using a spring balance.
(b) Answer has not given due to out of present syllabus.
(c) The two conditions are :
(i) Displacement is zero.
(ii) Angle between force and displacement is 90°.
(d)

(e) (i) Pitch. (ii) Colour
Question 2:
(a) (i) Why is the mechanical advantage of a lever of the second order always greater than one ?
(ii) Name the type of single pulley that has a mechanical advantage greater than one. [2]
(b) (i) What is meant by refraction of light ?
(ii) What is the cause of refraction of light ? [2]
(c) ‘The refractive index of diamond is 2.42’.
What is meant by this statement ? [2]
(d) We can bum a piece of paper by focusing the sun rays by using of lens.
(i) Name the type of lens used for the above purpose.
(ii) Draw a ray diagram to support your answer.
(e) A ray of light enters a glass slab PQRS, as shown in the diagram. The critical angle of the glass is 42°. Copy this diagram and complete the path of the ray till it emerges from the glass slab.

Mark the angles in the diagram wherever necessary. [2]
Answer:
(a) (i) ∴ Effort arm > Load arm.
(ii) Single movable pulley.
(b) (i) The deviation in the path of light when it travels from one medium to the other is called refraction of light.
(ii) Speed of light is different in different mediums.
(c) It means that the ratio of speed of light in air to the speed of light in diamond is 2.42.
(d) (i) Convex lens.
(ii)

(e)

Question 3:
(a) State two differences between light waves and sound waves. [2]
(b) Two waves of the same pitch have their amplitudes in the ratio 2 : 3.
(i) What will be the ratio of their loudness ?
(ii) What will be the ratio of their frequencies ? [2]
(c) Give two differences between a d.c. motor and an a.c. generator. [2]
(d) Six resistances are connected together as shown in the figure. Calculate the equivalent resistance between the points A and B. [2]

(e) (i) Which part of an electrical appliance is earthed ?
(ii) State a relation between electrical power, resistance and potential difference in an electrical circuit. [2]
Answer:
(a) Difference between Sound waves and Light waves :
| Sound Waves | Light Waves |
| 1. These are mechanical waves. They require medium for propagation. | 1. These are electromagnetic waves. They can travel in vacuum. |
| 2. These are longitudinal waves. | 2. These are transverse waves. |
(b) (i) ∴ Loudness ∝ (Amplitude)2

(ii) Frequency remains same if pitch is unchanged. i.e., Ratio of frequencies = 1 : 1
(c) Difference between D.C. motor and A.C. Generator:
| D. C. Motor | A. C. Generator |
| (i) It converts Electrical energy into Mechanical energy. | (i) It converts Mechanical energy into Electrical energy. |
| (ii) It consists of split rings. | (ii) It consists of slip rings. |
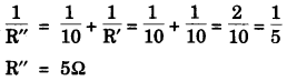
(d) The resistance 2Ω, 3Ω and 5Ω are in series. Their equivalent resistance is R’ = 2 + 3 + 5 = 10Ω.
Now the resistance 10Ω and R’ are in parallel. Their equivalent resistance is

Now 2Ω, R” (= 5Ω) and 5Ω resistances are in series between A and B.
∴ Equivalent resistance between A and B is,
= 2 + 5 + 5 = 12Ω.
(e) (i) The outer body of an electrical appliance which can be handled physically is earthed for the safety reasons. For the earthing of an appliance, the earth wire of the cable is connected to outer metallic case of the appliance.
(ii)

Question 4:
(a) A device is used to transform 12V a.c. to 200 V a.c.
(i) What is the name of this device ?
(ii) Name the principle on which it works. [2]
(b) (i) Which materials is the calorimeter commonly made of ?
(ii) Give one reason for using this material. [2]
(c) (i) Name a metal that is used as an electron emitter.
(ii) Give one reason for using this metal. [2]
(d) Complete the following nuclear changes: [2]

(e) (i) Which radiation produces maximum biological damage ?
(ii) What happens to the atomic number of an element when the radiation named by you in part (i) above, are emitted ? [2]
Answer :
(a) (i) Step up Transformer.
(ii) Faraday’s Law of Electromagnetic Induction.
(b) (i) Copper.
(ii) Specific heat capacity of copper is low.
(c) (i) Tungsten coated with oxide.
(ii) Melting point of Tungsten is high.
(d)

(where \(_{ 2 }^{ 4 }{ He } \) is a particle.)
(e) (i) γ radiation.
(ii) No change in atomic number.
SECTION-II (40 Marks)
Attempt any four questions from this Section.
Question 5:
(a) (i) Define the term momentum.
(ii) How is force related to the momentum of a body ?
(iii) State the condition when the change in momentum of a body depends only on the change in its velocity. [3]
(b) A body of mass 50 kg has a momentum of 3000 kg ms-1. Calculate :
(i) the kinetic energy of the body.
(ii) the velocity of the body.
(c) (i) Write a relation expressing the mechanical advantage of a lever.
(ii) Write an expression for the mechanical advantage of an inclined plane.
(iii) Give two reasons as to why the efficiency of a single movable pulley system is always less than 100%. [4]
Answer:
(a) (i) Momentum is defined as the product of mass and velocity of a body.
(ii)

(iii) When velocity of body is much less than the velocity of light so that mass is constant.
(b)

(c)

(iii) The two reasons are :
(1) The moving parts are not perfectly smooth i.e., friction less.
(2) The string in it is not perfectly elastic.
Question 6:
(a) A stick partly immersed in water appears to be bent. Draw a ray diagram to show the bending of the stick when placed in water and viewed obliquely from above. [3]
(b) A ray of monochromatic light is incident from air on a glass slab :
(i) Draw a labelled ray diagram showing the change in the path of the ray till it emerges from the glass slab.
(ii) Name the two rays that are parallel to each other.
(iii) Mark the lateral displacement in your diagram. [3]
(c) An erect, magnified and virtual image is formed, when an object is placed between the optical centre and principal focus of a lens.
(i) Name the lens.
(ii) Draw a ray diagram to show the formation of the image with the above stated Characteristics. [4]
Answer:
(a)

(b) (i)

(ii) Two parallel rays are Incident ray and Emergent ray.
(iii) Lateral displacement is marked by X in the diagram.
(c) (i) Convex lens
(ii)

Question 7:
(a) Two parallel ray of Red and Violet travelling through air, meet the air glass boundary as shown in the given figure.

(i) Will their paths inside the glass be parallel ? Air Give a reason for your answer.
(ii) Compare the speeds of the two rays inside the glass. [3]
(b) (i) A man stands at a distance of 68 m from a cliff and fires a gun. After what time interval will he hear the echo, if the speed of sound in air is 340 ms-1 ?
(ii) If the man had been standing at a distance of 12 m from the cliff would he have heared a clear echo ?
(c) (i) In what unit does the domestic electric meter measure the electrical energy consumed ? State the value of this unit in S.I.
(ii) Why should switches always be connected to the live wire ?
(iii) Give one precaution that should be taken while handling switches. [4]
Answer:
(a)

(i) Since r1 > r2.
No. Paths inside the glass will not be parallel. As shown in the figure, both will refract through a different angle.
(ii) Red deviates less and Violet deviates more. Therefore Speed of Red in glass is more than Speed of Violet in glass.
(b) (i)

(ii) No, least distance for hearing an echo should be 17 m.
(c) (i) kWh
1 kWh = 3.6 × 106 J.
(ii) Because current is brought to the appliance through the live wires.
(iii) Switches should not be touched with wet hands.
Question 8:
(a) Calculate the quantity of heat that will be produced in a coil of resistance 75 Ω if a current of 2A is passed through it for 2 minutes. [2]
(b) (i) A substance has nearly zero resistance at a temperature of 1 K. What is such a substance called ?
(ii) State any two factors which affect the resistance of a metallic wire. [3]
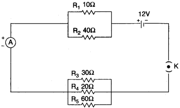
(c) Five resistors of different resistances are connected together as shown in the figure. A 12 V battery is connected to the arrangement. Calculate :

(i) the total resistance in the circuit.
(ii) the total current flowing in the circuit.
Answer:
(a)

(b) (i) Super conductor.
(ii) Two factors which effect the resistance of a wire :
(1) Length of the wire.
(2) Area of cross section of the wire.
(c)

Question 9:
(a) (i) Define the term ‘specific latent heat of fusion’ of a substance.
(ii) Name the liquid which has the highest specific heat capacity.
(iii) Name two factors on which the heat absorbed or given out by a body depends. [3]
(b) (i) An equal quantity of heat is supplied to two substances A and B. The substance A shows a greater rise in temperature. What can you say about the heat capacity of A as compared to that of B ?
(ii) What energy change would you expect to take place in the molecules of a substance when it undergoes :
1. a change in its temperature ?
2. a change in its state without any change in its temperature ? [3]
(c) 50 g of ice at 0 °C is added to 300 g of a liquid at 30 °C. What will be the final temperature of the mixture when all the ice has melted ? The specific heat capacity of the liquid is 2.65 Jg-1 °C-1 while that of water is 4.2 Jg-1 °C-1. Specific latent heat of fusion of ice = 336 Jg-1. [4]
Answer:
(a) (i) Specific Latent heat of fusion : It is the amount of heat required to convert unit mass of a substance from solid state, to liquid state without change in temperature.
(ii) Water.
(iii) Two factors:
(1) The relative temperature of the body with respect to its surroundings.
(2) Mass of the body.
(b) (i) Heat capacity of A < Heat capacity of B.
(ii) (1) Kinetic energy changes.
(2) Inter molecular space changes.
(c) Let the mixture reach a final temperature T °C.

Question 10:
(a) (i) Name the radioactive radiations which have the least penetrating power.
(ii) Give one use of radio isotopes.
(iii) What is meant by background radiation ? [3]
(b) (i) A straight wire conductor passes vertically through a piece of cardboard sprinkled with iron filings. Copy the diagram and show the setting of iron filings when a current is passed through the wire in the upward direction and the cardboard is tapped gently. Draw arrows to represent the direction of the magnetic field lines.

(ii) Name the law which helped you to find the direction of the magnetic field lines. [3]
(c) (i) State two ways by which the magnetic field of a solenoid can be made stronger.
(ii) What material is used for making the armature of an electric bell ? Give a reason for using this material. [4]
Answer:
(a) (i) α radiations
(ii) Radio isotopes used as fuel for atomic energy reactors.
(iii) Background radiations are the radioactive radiations (such as α, β and γ) to which we all are exposed even in the absence of an actual visible radioactive source.
(b) (i)

(ii) Right Hand Thumb rule.
(c) (i) (1) By increasing the number of turns of the winding of the solenoid.
(2) By increasing the current through the solenoid.
(ii) Soft iron.
Since soft iron has low retentivity.