ISC Physics Previous Year Question Paper 2010 Solved for Class 12
Maximum Marks: 70
Time allowed: 3 hours
- Candidates are allowed additional 15 minutes for only reading the paper. They must NOT start writing during this time
- Answer all questions in Part I and six questions from Part II, choosing two questions from each of the Sections A,B and C.
- All working including rough work, should be done on the same sheet as, and adjacent to, the rest of the answer.
- The intended marks for questions or parts of questions are given in brackets [ ].
- Material to be supplied: Log tables including Trigonometric functions
- A list of useful physical constants is given at the end of this paper.
Part-I
(Answer all questions)
Question 1.
A. Choose the correct alternative A, B, C or D for each of the questions given below : [5]
(i) Electric field intensity ‘E’ at a point P (Figure 1) at a perpendicular distance ‘r’ from an infinitely long line charge X’X having linear charge density λ is given by :
(A) \(E=\left(\frac{1}{4 \pi \mathcal{E}_{0}}\right) \frac{2 \lambda}{r^{2}}\)
(B) \(E=\left(\frac{1}{4 \pi \varepsilon_{0}}\right) \frac{2 \lambda}{r}\)
(C) \(\mathrm{E}=\left(\frac{1}{4 \pi \varepsilon_{0}}\right) \frac{\lambda}{r^{2}}\)
(D) \(E=\left(\frac{1}{4 \pi \varepsilon_{0}}\right) \frac{\lambda}{r}\)

(ii) A moving coil galvanometer can be converted into a voltmeter by connecting
(A) a low resistance in series with its coil.
(B) a low resistance in parallel with its coil.
(C) a high resistance in parallel with its coil.
(D) a high resistance is series with its coil.
(iii) The loss of power in a transformer can be reduced by :
(A) increasing the number of turns in primary.
(B) increasing ac voltage applied to primary.
(C) using a solid core made of steel.
(D) using a laminated core of soft iron
(iv) Which equation represents the emission of a beta particle by a radioactive nucleus :
(A) \(_{0}^{1} n \rightarrow_{1}^{1} \mathrm{H}+_{-1}^{0} e+\overline{v}\)
(B) \(\gamma \rightarrow_{1}^{0} e+_{-1}^{0} e\)
(C) \(4 \frac{1}{1} \mathrm{H} \rightarrow_{2}^{4} \mathrm{H} e+2_{1}^{0} e\)
(D) \(_{2}^{4} \mathrm{He}+_{7}^{14} \mathrm{N} \rightarrow_{8}^{17} \mathrm{O}+_{1}^{1} \mathrm{H}\)
(v) An important component of Michelson’s method to determine speed of light is :
(A) a NICOL prism.
(B) a bi prism.
(C) a grating.
(D) an octagonal mirror.
B. Answer all questions briefly and to the point: [15]
(i) In an electric dipole, what is the locus of a point of zero potential ?
(ii) What is the resistance of a carbon resistor whose coloured bands are shown in Figure 2.

(iii) A part of an electric circuit is shown below (Figure 3):

Using Kirchhoff’s 2nd Law, find the current I flowing through the 4 Ω resistor.
(iv) Figure 4 below shows a graph of emf ‘e’ generated by an ac generator versus time ‘t’.

What is’the frequency of the emf ?
(v) Arrange the three types of magnetic materials, i.e. para magnetic, diamagnetic and ferromagnetic materials, in decreasing order of their magnetic susceptibility.
(vi) Which electromagnetic wave is longer than X ray but shorter than light wave ?
(vii) Calculate the critical angle for glass and water pair. (The refractive index for glass is 1.50 and the refractive index for water is 1.33).
(viii) Name an optical device, which, when used with a spectrometer, can determine the wavelength of the given monochromatic light.
(ix) Young’s double slit experiment was performed with monochromatic light of blue color. The experiment was then repeated, first with light of red color and then, with light of yellow color. Which color produces interference pattern with maximum fringe separation (i.e. fringe width) ?
(x) Calculate dispersive power of glass, accurately upto three decimal places, from the following data:
Refractive index of glass for red colour = 1.60
Refractive index of glass for yellow colour =1.61
Refractive index of glass for violet colour = 1.62
(xi) De Broglie wavelength of electrons of kinetic energy E is λ. What will be its value of kinetic energy of electrons is made 4E ?
(xii) How much energy will be created if 1 g of matter is destroyed completely ?
(xiii) Complete the following nuclear reaction:
\(\frac{1}{0} n+_{6}^{12} \mathrm{C} \rightarrow_{5}^{-12} \mathrm{B}+\ldots .\)
(xiv) State one important use of a Zener diode.
(xv) Draw a labelled graph of voltage versus time for a signal voltage used in digital circuits.
Answer:
A. (i) The correct choice is B i.e. \(E=\frac{1}{4 \pi \varepsilon_{0}} \frac{2 \lambda}{r}\)
(ii) D, i.e. a high resistance in series with the coil.
(iii) D, by using a laminated iron core.
(iv) The correct choice is A.
(v) D, an octagonal mirror.
B. (i) A straight line passing through the center of the dipole and perpendicular to its axis.
(ii) 24 x 10° = 24 Ω (according to color code)
(iii) Since, there is no battery in the closed mesh
ABC, therefore Σir = 0
∴ Applying second law to the mesh ABCA, we get
\(\begin{aligned} 3 \times 2+\mathrm{I} \times 4-6 \times 2 &=0 \\ 4 \mathrm{I} &=6 \\ \mathrm{I} &=\frac{6}{4}=1.5 \mathrm{A} \end{aligned}\)
(iv) If study the (e. t) curve it is quite evident that to produce one cycle of a.c., the time taken is 0.10 s
∴ T = 0.1 s
∴ Frequency v = 1/T = 1/0.1 = 10 Hz
(v) Ferromagnet, paramagnetic and diamagnetic.
(vi) Ultraviolet rays
(vii) Given here is 1.5

(viii) Diffraction grating.
(ix) Since the fringe width is directly proportional to the wavelength of light, the fringe width will be maximum with red light.

(xii) According to Einstein relation
(xiii) The completed nuclear reaction is \(\frac{1}{0} n+_{6}^{12} \mathbf{C} \rightarrow_{5}^{11} \mathbf{B}+_{1}^{2} \mathbf{H}\)
(xv)

Part- II
(Answer six questions in this part, choosing two questions from each of the Sections A, B and C)
Section-A
(Answer any two questions)
Question 2.
(a) An isolated 16 μF parallel plate air capacitor has a potential difference of 1000 V (Figure 5a). A dielectric slab having relative permittivity (i.e. dielectric constant) = 5 is introduced to fill the space between the two plates completely (Figure 5 b). Calculate : [2]
(i) the new capacitance of the capacitor.
(ii) the new potential difference between the two plates of the capacitor.

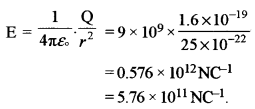
(b) An electron revolves around the nucleus of hydrogen atom in a circular orbit of radius 5 x 10-11 m. Calculate: [4]
(i) intensity of electric field of the nucleus at the position of the electron.
(ii) electrostatic potential energy of the hydrogen nucleus and electron system
(c) (i) What is Peltier effect ? State one difference between Peltier effect and Seebeck effect. [3]
(ii) Explain the statement: ‘Temperature coefficient of resistance of a metal is 4 x 10-3 /°C.
Answer.
(a) Here C0 = 16μF, K = 5
(i) When the dielectric of dielectric constant K is introduced between the plates of the capacitor, the capacity increases K times, new capacity = KC0 = 5 × 16 = 80μF,
v0=1ooov
(ii) The new potential difference V is given by
\(\mathrm{V}=\frac{\mathrm{V}_{0}}{\mathrm{K}}=\frac{1000}{5}=200 \mathrm{V}\)
(i) \(\text { Here } r=5 \times 10^{-11} \mathrm{m},+\mathrm{e}=1.6 \times 10^{-19} \mathrm{C}\)
Electric intensity at the position of the electron


(ii) Electrostatic potential energy

(c) (i) It is the phenomenon of evolution or absorption of heat at the two functions of a thermo couple when a current is passed through it from an external source. In Peltier effect electrical energy is being converted into heat where as in Seebeck effect, heat is converted into electrical energy.
(ii) It means that the resistance of a metal of resistance IΩ increases by 4 x 10-3 ohm for every one degree centigrade rise of temperature.
Question 3.
(a) In the circuit shown (Figure 6), PQ is a uniform metallic wire of length 4 m and resistance 20 Ω. Battery B has an emf of 10V and internal resistance of 1 Ω. J is a jockey or slide contact. Resistance of the ammeter A and connecting wires is negligible.
(i) When the jockey J does not touch the wire PQ, what is the reading of ammeter A ?
(ii) Where should the jockey J be pressed on the wire PQ so that the galvanometer G shows no deflection ?

(b) What is ‘current density’ ? Write the vector equation connecting current density J with electric field intensity E, for an ohmic conductor. [2]
(c) A small magnetic needle NS having magnetic dipole moment \(\overrightarrow{\mathrm{P}}_{m}\) is kept in two uniform and perpendicular magnetic fields \(\overrightarrow{\mathrm{B}}_{f}\) and \(\overrightarrow{\mathrm{B}}_{H}\) as shown below (Figure 7):
(i) What is the effect of each of the magnetic fields \(\overrightarrow{\mathrm{B}}_{f}\) and \(\overrightarrow{\mathrm{B}}_{H}\) on the needle ?
(ii) When the needle is in equilibrium, obtain an expression for angle θ made by the needle with \(\overrightarrow{\mathrm{B}}_{H}\) in terms of \(\overrightarrow{\mathrm{B}}_{f}\)and \(\overrightarrow{\mathrm{B}}_{H}\) only.

Answer:

(b) Current density at a point is defined as the current passing through a unit area which is held perpendicular to the direction of current. If a current I flows through an area S, then current

(c) (i) We know that whenever a magnetic needle is placed in a uniform magnetic field it experience a torque, which tries to set the dipole in the direction of the magnetic field. This torque is given by MB sinθ, where M is the magnetic dipole moment and θ the angle between M and B. Here there, are two fields, therefore the magnetic needle experiences two torques
1. MBH sin θ due to the field BH and
2. MBF sin (90° – θ) = MBH cosθ due to the magnetic field BF trying to set the dipole in the direction of BF.
(ii) The magnetic needle will point neither in the direction of BH, nor in the direction of BF. It will come to equilibrium in a position making an angle θ with the direction of BH such that the two torques are equal and opposite i.e. when.

Question 4.
(a) Figure 8 shows two very long conductors PQ and RS kept parallel to each other in vacuum at a distance of 20 cm. They carry currents of 5 A and 15 A, respectively, in the same direction, as shown. Find the resultant magnetic flux density BR at a point M which lies exactly midway between PQ and RS. [3]

(b) With the help of a neatly drawn labelled diagram, prove that the magnitude of motional emf ‘e’ is given by e = Blv, where l is the length of a metallic rod and ‘v’ is the velocity’ with which it is pulled in a transverse magnetic field ‘B; [3]
(c) Plot a labelled graph showing variation in impedance Z of a series LCR circuit with frequency f of alternating emf applied to it. What is the minimum value of this impedance ? [3]
Answer:


![]()
(b) When the conductor PQ is moved with a velocity v in the direction perpendicular to both its length and magnetic field, these takes place a change of magnetic flux and hence an induced emf is produced. Let the conductor PQ be moved through a small distance dx in a small time dt.
Then change in magnetic flux dB is given by




Section-B
(Answer,any two questions)
Question 5.
(a) On the basis of Huygens’s wave theory, show that when light is incident on a plane mirror obliquely, angle of reflection is equal to angle of incidence. [3]
(b) (i) What is a continuous emission spectrum ? Name one source of light which produces such a spectrum.
(ii) Explain in brief why dark lines are observed in the solar spectrum. [3]
(c) An equiconvex lens of glass, having focal length of 10 cm is split into two identical plano-convex lenses each having focal length f1 as shown below (figure 9): [3]

Answer.
(a) In the fig. is shown a wave front AB on a reflection surface. According to Huygens’s wave theory every point on the wave front is a source of secondary wavelets which travel in all directions with the velocity of light in the medium. The forward, locus of the secondary wavelets gives us the position of the reflected wave front. In the fig, the wavelets from B strike XY at A’ such that BA’ = c × t. With A as center and radius ct, draw an arc AB’ = ct. From A, draw a tangent to this arc to meet it at B’. Then A’B’ is the reflected wave front. Produce the ray forwards to meet XY at P. From P, draw PD’ and PN ⊥ B’A’ and BA’ respectively. Then A’B’ will be a true reflected wave front of


(b) (i) Continuous emission spectra : This spectrum is emitted by incandescent solids or by dense luminous gases heated to a high temperature. It consists of a number of continuous, unbroken bands of colors ranging from red to violet. There is no discontinuity or gap. It consists of all the wavelengths from one end to the other end. The intensity of a band is maximum at one end and then goes on decreasing. Since there is no demarcation between different colors it is called a continuous spectrum.
(ii) The interior of the sun is at a very high temperature of the order of 1070C and emits a continuous spectrum. In the chromosphere certain elements are present. These elements, in accordance with Kirchhoff’s law absorb those very radiations which they are capable of emitting when they are heated. Corresponding to these elements dark lines appear in the solar spectrum. Thus dark line helps us to identify the element present in the chromosphere.
(c) According to lens maker’s formula


Question 6. .
(a) An illuminated point object O is kept 20 cm from a thin convex lens L1 of focal length 15 cm as shown below. A thin diverging lens L2 of focal length 25 cm is kept co-axial with the first lens and 3 5 cm from it, as shown in Figure 10.

Find the position of the final image formed by this combination of lenses. [4]
(b) (i) What are coherent sources ? [2]
(ii) In Young’s double slit experiment, what is the path difference between the two light waves forming 5th bright band (fringe) on the screen ?
(c) State one similarity and one difference between interference of light and diffraction of light. [2]
Answer:



(b) (i) Coherent sources are sources which emit light of the same frequency, wavelength, amplitude and of the same phase or a constant phase difference. These sources are usually derived from the same source.
(ii) For bright fringes we know that
p =nλ = 5λ
(c) in both the interference and diffraction, alternate dark and bright regions are formed due to the superposition of waves. In interference, two coherent sources are required. Diffraction is interference between the light waves starting from the two halves of a single wave front.
Question 7.
(a) A ray EF of monochromatic light is incident on the refracting surface AB of a regular glass prism (refractive index = 1.5) at an angle of incidence of i = 55° (Figure 11). If it emerges through the adjacent face AC, calculate the angle of emergence ‘e’. [3]
(b) (i) In case of polarized light, what is meant by the ‘plane of polarization’ ? [2]
(ii) Find refractive index of glass if its polarizing angle is 60°.
(c) (i) Explain the statement: “Angular magnification of a compound microscope in normal use is 30.” [3]
(ii) State how the resolving power of an astronomical telescope can be increased.
Answer:


(b) (i) Plane of polarization is the plane in which no vibration of the electric vector exist. It is perpendicular to the plane of vibration.
(ii) Here, ip=60°
we know that μ = tan ip = tan 60°= 1.732
(c) (i) When we say that angular magnification of a compound microscope is 30, it implies that the size of the final image as seen through the microscope is 30 times the size of the object when both are situated at the least distance of distinct vision.
(ii) The resolving power of a microscope can be increased by :
- Increasing the aperture of the objective.
- Decreasing the wavelength of light.
Section-C
(Answer any two questions)
Question 8.
(a) In Millikan’s oil drop experiment, the two plates are 2 cm apart. When a potential difference of 2355 V is applied between them, an oil drop of radius 1 pm is found to remain suspended. Calculate the number of excess electrons on the drop. [3]
[Density of oil = 900 kg / m3 Density of air may be ignored]
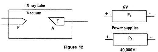
(b) Figure 12 below shows a simple X ray tube. P1 and P2 are power supplies which generate 6V and 40,000 V respectively. Show how you will connect these power supplies to the X ray tube so that is starts producing X rays. [2]

(c) (i) Write a balanced equation showing nuclear fission of Uranium \(\left(\begin{array}{cc}{235} & {\mathrm{U}} \\ {92}\end{array}\right)\)nucleus.
(ii) In a nuclear reactor, what is the function of:
- Cadmium rods?
- Graphite rods ?
Answer:

(b) The necessary connections are as shown :

(c) (i) The required balanced equation in given below :
\(_{92}^{235} \mathrm{U}+_{0}^{1} n \rightarrow_{56}^{141} \mathrm{Ba}+_{36}^{92} \mathrm{Kr}+3_{0}^{1} n+\mathrm{Q}\)
(ii) 1. The function of the cadmium rods is to control the speed of the reaction. Cadmium is a good absorber of neutrons.
2. Graphite rods : The main function of the graphite rod is to slow down the neutrons. The fission of uranium takes place with slow neutrons. The neutrons produced in fission have high kinetic energy and hence have to be slowed down.
Question 9.
(a) Starting with \(N=N_{0} \mathrm{e}^{-\lambda t}\) obtain a relation between disintegration constant ‘λ’ of a radioactive element and its half life (T). Various terms have their usual meaning. [2]
(b) On an energy level diagram of hydrogen, show by a downward or an upward arrow, a transition which results in : [3]
(i) emission line of Bahner series.
(ii) emission fine of Lyman series
(iii) absorption line of Lyman series. [3]
(c) Calculate:
(i) mass defect of Helium \(\left(\begin{array}{l}{4} \\ {2}\end{array} \mathbf{H} \mathbf{e}\right)\) nucleus and
(ii) its binding energy in MeV.
Mass of a proton = 1.007276 u
Mass of a neutron = 1.008665 u
Mass of \(\left(\begin{array}{l}{4} \\ {2}\end{array} \mathbf{H} \mathbf{e}\right)\) He nucleus = 4.001506 u
Answer:

(b) The required transition are as shown in the fig.
(i) Balmer series is emitted when transition take place from higher level to n = 2.
(ii) For lyman series, transition take place from higher level to the first level i.e., n = 1.
(iii) For absorption of Lyman’ series, the transition take place from n1= 1 to higher levels.

(c) \(_{2} \mathrm{He}^{4} \) nucleus contains two protons and two neutrons
Mass of two protons = 2 × 1.007276 = 2.014552 u
Mass of two neutrons = 2 × 1.008665 = 2.017330 u
Sum of the masses of two protons and two neutrons = 4.031882 u
Mass of the helium nucleus = 4.001506 u
∴ Mass defect = 4.031882 – 4.001506 = 0.030376 u
∴ Binding energy=0.030376 × 931 = 28.28 MeV [ ∵1 u = 931 Mev]
Question 10.
(a) Draw a labelled diagram of a common emitter amplifier. What is the phase angle between the input and output voltages ? [3]
(b) Threshold wavelength of a certain metal is 792 nm. What is the maximum kinetic energy of photo-electrons emitted by this metal if it is exposed to ultraviolet light of wavelength 396 nm? [3]
(c) The following combination of gates acts as a logic gate. With the help of a truth table, find out which logic gate the combination represents : [2]



Answer:


